欢迎您光临河南泉舜流体控制科技有限公司!
全国热线:0371-55693192    EN  CN
偏心半球阀
偏心半球阀是我公司引进国外先进技术,在球阀的基础上,为了解决“固-液”、“固-气”两相流介质输送中的技术难题而研制开发的产品。
  • 口径:DN40~DN1400
  • 压力:PN6~PN64
  • 材质:WCB(A105), CF8(304), CF8M(316), CF3(304L), CF3M(316L)等
  • 密封面:堆焊硬质合金,也可根据客户的要求阀瓣或内腔喷涂处理
  • 连接方式:法兰、对夹、焊接
  • 涡轮传动:气动、电动、液动等多种执行机构可选
  • 产品应用:水处理、钢铁、煤化工、氧化铝等行业

 

偏心半球阀是我公司引进国外先进技术,在球阀的基础上,为了解决“固-液”、“固-气”两相流介质输送中的技术难题而研制开发的产品。
产品特点
  1、直通式阀体,阀门全开状态下,流体几乎直线型流动,能量损失小于其他阀门;
  2、开关轻便:开启时阀芯与阀座脱离,无任何接触,启动扭矩小于球阀,转动灵活;
  3、偏心结构设计,利用偏心-楔紧凸轮原理,关闭严紧可靠,密封性能好;
  4、阀门关闭时的楔紧力用能除去密封面上的结垢与粘连,具有抗结疤功能.。
技术参数
  1、口径DN40~DN1400
  2、压力:PN6~PN64   
  3、材质:CF8M(A105), CF8(304), CF8M(316), CF3(304L), CF3M(316L)等
  4、密封面:堆焊硬质合金,也可根据客户的要求阀瓣或内腔喷涂处理
  5、连接方式:法兰、对夹、焊接
  6、蜗轮传动、气动、电动、液动等多种执行机构可选
产品应用
  水处理、钢铁、煤化工、氧化铝等行业
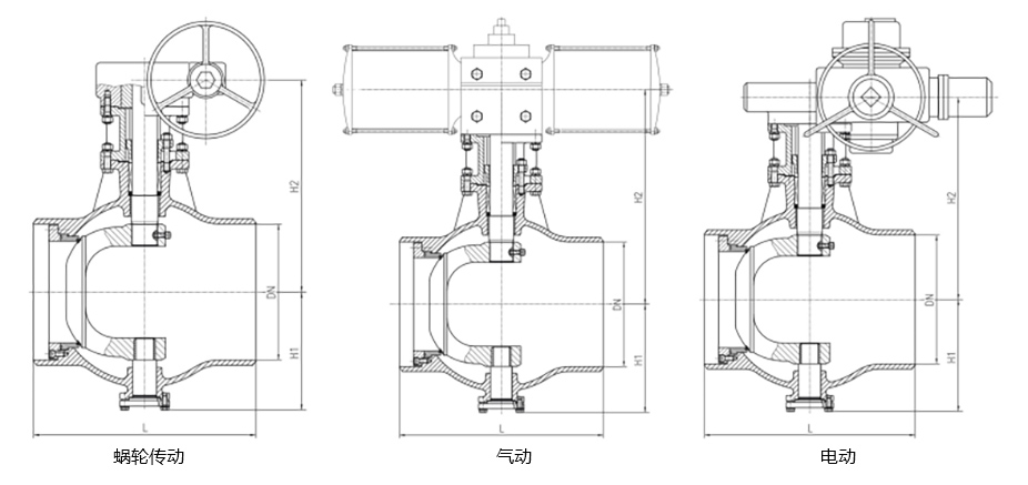
主要尺寸图
法兰连接半球阀主要尺寸
法兰连接半球阀主要尺寸

 

公称尺寸
DN(mm)
5065801001251502002503003504004505006007008009001000
结构长度L
(mm)
178190203229254267292330419
(356)
551
(450)
600
(530)
650
(580)
701
(660)
800
(680)
900100011001200
H1(mm)87102106116.5134.5151197229.5250297327374400467557637753.5794
H2
(mm)
蜗轮传动209234240254304320407444519555619679744819925100510731155
气动22828328930336237847352260064673079090010211138121812961427
电动273346352366437463561627705761880940107512291376145615341707
 
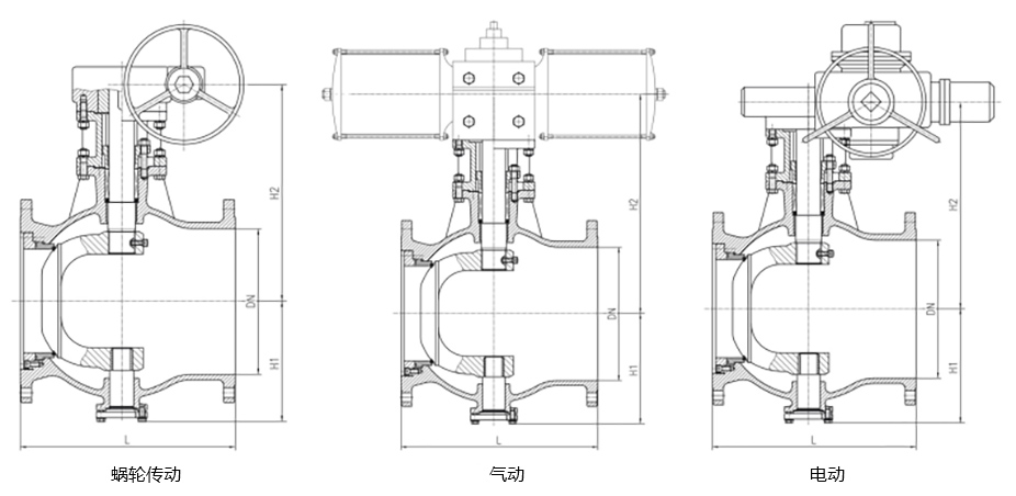
对焊连接半球阀主要尺寸
对焊连接半球阀主要尺寸
公称尺寸
DN(mm)
5065801001251502002503003504004505006007008009001000
结构长度L
(mm)
21624128330538140341945750257261066071181391496510161200
H1(mm)87102106116.5134.5151197229.5250297327374400467557637753.5794
H2
(mm)
蜗轮传动209234240254304320407444519555619679744819925100510731155
气动22828328930336237847352260064673079090010211138121812961427
电动273346352366437463561627705761880940107512291376145615341707


上一篇:没有了!

下一篇:上装式偏心半球阀